
产品概述
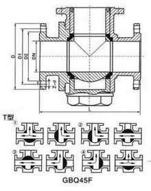
三通球阀可为L形和T形,L形(Q44F)三通球阀用于介质流向的切换,能使相互垂直的两个通道连接;T形(Q45F)三通球阀用于介质分流、合流及流向切换。T形三通可以使三个通道相互连通或使其中的两个通道连通。三通球阀一般采用两阀座结构,亦可根据用户要求采用四阀座结构。

主要零件的材料说明
|
阀体、阀盖 |
WCB、CF8 |
|
球体 |
WCB+HCr、CF8 |
|
阀杆 |
2Cr13、CF8 |
|
阀座 |
PTFE |
|
填料 |
PTFE |
|
主要零件的材料说明
|
|||||||||||||||||||||||||||||||||||||||||||||||||||||||||||||||||||||||||||||||||||||||||||||||||||||||||||||||||||||||||||||||||||||||||||||||||||||||||||||
|
主要外形尺寸
|
|||||||||||||||||||||||||||||||||||||||||||||||||||||||||||||||||||||||||||||||||||||||||||||||||||||||||||||||||||||||||||||||||||||||||||||||||||||||||||||